Главная
/
Каталог продукции
/
Комплектующие для элеваторов
/
Ковши норийные
/
Полимерные (пластиковые)
/
Ковши норийные полимерные тип DK-I
/
Ковш норийный полимерный DK 12х8
Ковш норийный полимерный DK 12х8
Описание
Ковши норийные полимерные DK 12х8 предназначены для эксплуатации на элеваторах с высокой производительностью для транспортировки продукции агропромышленного комплекса (зерна, риса, комбикормов и пр.). Усиленная конструкция ковша DK 12х8 позволяет выдерживать значительные нагрузки и продолжительный срок эксплуатации.

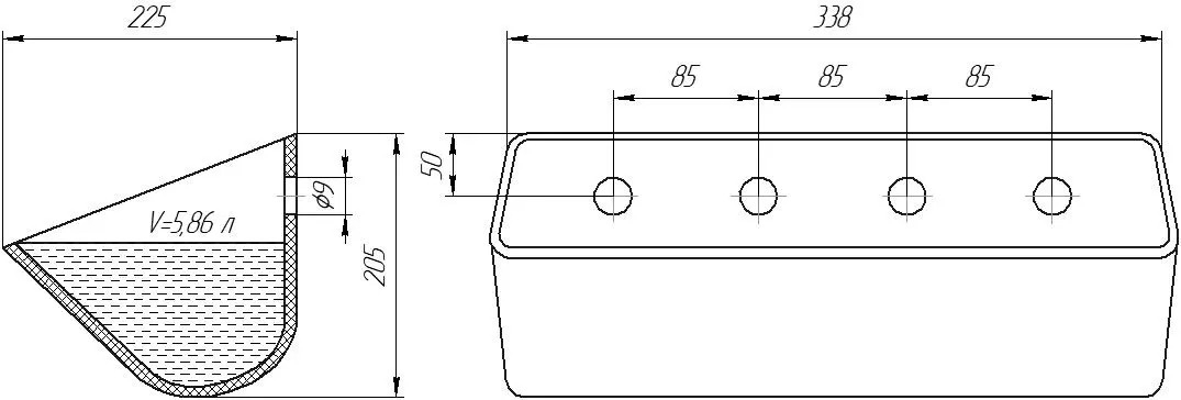
Основные технические характеристики
| Ширина, мм | 338 |
| Вылет, мм | 225 |
| Высота по задней стенке, мм | 205 |
| Количество отверстий, шт. | 4 |
| Межцентровое расстояние между отверстиями, мм | 85 |
| Диаметр отверстий, мм | 9 |
| Рабочий объем, л | 5,86 |
Для того, чтобы купить этот товар
Вам достаточно обратиться к нам по телефону +7 (343) 207-50-28
или заказать через электронную почту info@germes-prom.ru
Контакты
Свяжитесь с нами
