Транспортерная сетка Тип-5
Описание
Транспортерная сетка для конвейеров Тип-5 одинарной сборки относится к самому распространенному типу металлических конвейерных лент. Она является экономичной при изготовлении, что положительно сказывается на ее стоимости. К преимуществам данного типа можно отнести также простоту конструкции, относительно небольшую массу и превосходный теплоотвод. Ее используют во многих процессах транспортировки, сушки, мойки, охлаждения, закалки продукции. При этом температура эксплуатации, в зависимости от особенностей технологического процесса, может варьироваться от -50°С до +1200°С.
Транспортерная сетка сборная одинарного плетения (шарнирно-звеньевая) Тип-5 используется в следующих технологических процессах производства:
- Производство и переработка пищевых продуктов;
- Системы охлаждения, заморозки и промывки продукции;
- Туннельные печи;
- Сортировочные конвейеры;
- Системы транспортировки и др.
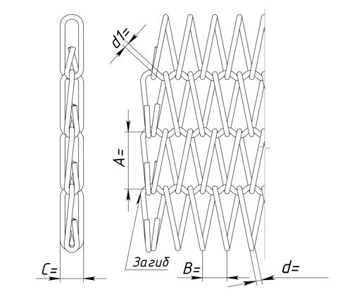
Конструктивно сетка представляется сборное полотно из витых спиралей, состыкованной между собой каннилированной проволоки, придающей ей отличную жесткость по утку и минимальное растяжение при установке и эксплуатации. Края обычно бывают двух типов: сварные или загнутые. Волнообразная предварительная гибка поперечного прутка позволяет избегать схода спирали по всей ширине сетки. Размер ячеек сетки варьируется от 4 мм до 45 мм.
Материалы, из которых изготавливается транспортерная сетка Тип-5:
- Обыкновенная магнитная сталь (Сталь3, Св08Г2С);
- Нержавеющая сталь (AISI304, AISI316, AISI321, AISI430 и др.);
- Жаропрочные сплавы (Х20Н80-Н, 20Х25Н20С2 и др.).
Для сетчатых конвейеров, имеющего относительно длинную трассу, транспортирующего тяжелые грузы или для предотвращения ухода сетки относительно става, Тип-5 оснащают приводными роликовыми цепями со стандартным шагом (ПР-12,7, ПР-15,875, ПР-19,05 и т.д.) или цепями со специальными элементами. При наклонном перемещении грузов или специальных технологических процессов, сетка оснащается поперечными перегородками или лотками с требуемыми размерами.
Основные технические характеристики
Материалы сетки транспортерной Тип-5
| Материал | Температура эксплуатации | Характеристики |
| Сталь 3 | от +20°С до +300°С | Черная сталь с магнитными свойствами |
| Св08Г2С | от +20°С до +400°С | Конструкционная сталь, хорошо свариваемая |
| AISI 304 | от -200°С до +600°С | Коррозионностойкая нержавеющая сталь с продолжительным сроком эксплуатации. Неустойчива в щелочных и серосодержащих средах |
| AISI 321 | от -200°С до +800°С | Коррозионностойкая нержавеющая сталь с низкой растворимостью. Жаро- и хладостойкая. Прочная и плотная. Пластичная. Неустойчива к щелочным и серосодержащим средам |
| AISI 316 | от -200°С до +600°С | Повышенные антикоррозийные свойства, работает в агрессивных средах (раствор хлора, соленая морская вода, парах уксусной кислоты). Устойчива к механических нагрузкам. |
| AISI 309 / AISI 310 | от -20°С до +1050°С | Жаропрочная коррозионностойкая нержавеющая сталь высокой технологичности и повышенной пластичности |
| 20X25H20C2 | от -20°С до +1100°С | Высоколегированная жаропрочная сталь. Высокая сопротивляемость к окислительным процессам при любых условиях эксплуатации. Имеет высокую пластичность |
| Х20Н80 | от -20°С до +1200°С | Сталь с большим содержанием хрома и никеля, обладает. Жаростойкая в окислительной среде, в азоте и аммиаке; сплав не устойчив в атмосфере, содержащей серу и сернистые соединения |
Для того, чтобы купить этот товар
Вам достаточно обратиться к нам по телефону +7 (343) 207-50-28
или заказать через электронную почту info@germes-prom.ru
Контакты
Свяжитесь с нами





